Hotline
+86 13563566222


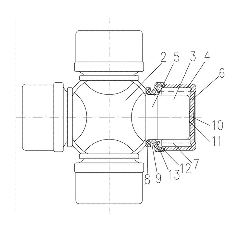
Model |
W1811-110 |
d |
45.88 |
D |
72 |
B |
159 |
Herhangi bir sorunuz varsa, lütfen bizimle iletişime geçin!
Contact us
